-
AMD의 열광적인 Radeon RX 8000 GPU에 MCM Navi 4C "RDNA 4" 칩이 탑재된 것으로 추정됨IT 소식 2023. 8. 15. 19:16728x90

AMD는 Navi 4C "RDNA 4" MCM GPU를 활용하여 차세대 Radeon RX 8000 매니아 그래픽 카드에 전원을 공급한 것으로 알려져 있습니다.
AMD Navi 4C "RDNA 4" MCM GPU가 지금은 없어진 Radeon RX 8000 그래픽 카드의 일부라는 소문이 있습니다
최근 기사를 읽으셨다면 AMD가 하이엔드 RDNA 4 GPU를 취소했다는 소문이 돌았던 최근 기사를 보셨을 것입니다. 음, 무어의 법칙은 죽었다는 것처럼 보입니다. 새로운 GPU 라인업의 일부가 될 예정이었지만 더 많은 주류 GPU를 위해 삭제된 특정 SKU에 대한 추가 정보가 있을 수 있습니다.
MLID는 RDNA 4 아키텍처를 기반으로 하는 세 가지 Navi 4 구성 중 하나인 Navi 4C GPU로 추정되는 다이어그램을 게시했으며 나머지 두 개는 Navi 4X 및 Navi 4M입니다 . 뒤로 _ Navi 4C 구성은 대부분 다양한 빌딩 블록을 활용한 매우 진보된 MCM(Multi-Chip-Module) 설계로 보입니다.

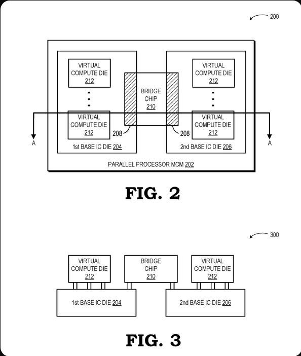
AMD Navi 4C(RDNA 4) GPU의 기본 레이어는 그 위에 여러 AID 및 MID를 고정하는 패키지 기판이었습니다. AID는 활성 인터포저 다이이며 기존 Navi 31 및 Navi 32 MCM GPU에 탑재된 MCD와 유사한 단일 MID 또는 멀티미디어 및 I/O 다이와 함께 제공되는 다이가 4개 있습니다. 이 칩렛에는 다른 멀티미디어 기능과 함께 VRAM 버스 컨트롤러 및 Infinity Cache가 포함되어 있습니다. 차세대 인터커넥트 패브릭을 사용하여 AID에 연결된 MID와 AID도 동일한 패브릭을 사용하여 상호 연결되었습니다.

이제 각 AID에 대해 스택형 칩렛 구성의 상단에 3개의 SED가 계층화되었습니다. 이러한 SED(Shader Engine Die)는 셰이더 작업을 수행하는 주요 GPU IP 블록이었습니다. 다이어그램은 RDNA 4 그래픽 아키텍처를 기반으로 하는 이 Navi 4C 구성에 최소 9개의 SED가 있음을 보여줍니다. 전체 패키지는 TSMC의 COW-V TSV(Chip-On-Wafer) 기술을 기반으로 했으며 몇 가지 구성을 포함할 예정이었지만 RDNA 4의 정확한 구성 또는 CU/WGP 레이아웃에 대해 알지 못하기 때문에 시기상조입니다. 이 칩이 무엇에 사용되었는지 설명하십시오. 다음 다이어그램의 출처인 이 특허 에서 SED, AER 및 MID에 대한 언급을 찾을 수도 있습니다 .


유출자는 이 특정 구성이 7900 XTX를 대체한 이후 매우 열성적인 제품이 되어야 했던 AMD Radeon RX 8900 XTX에 포함될 것으로 예상되었지만 더 이상 그렇지 않은 것처럼 보이며 칩렛 디자인이 이러한 규모의 GPU는 적어도 RDNA 4세대 GPU에 준비되지 않았습니다. 회사가 RDNA 3 라인업으로 목표 또는 기대치를 충족하지 못했고 향후 MCM 설계를 위해 일을 바로잡기 위해 드로잉 보드로 돌아갔을 가능성이 있습니다.
이것은 여전히 소문이고 아직 AMD에서 공식적으로 확인한 것은 없지만 RDNA 4 라인업은 Navi 42 및 Navi 41 칩이 있는 Navi 44 및 Navi 43 SKU만 얻을 것으로 보입니다. ). 이 라인업은 2024년에 출시될 예정 이므로 출시까지 아직 많은 시간이 남아 있으며 회사는 올 가을 후반에 더 많은 업데이트를 받을 RDNA 3 제품군을 아직 완성하지 못했습니다 .

https://www.youtube.com/watch?v=Ki2j11GcoU0&t=2s
출처 : https://wccftech.com/amd-enthusiast-radeon-rx-8000-gpus-allegedly-featured-mcm-navi-4c-rdna-4-chips/
#amd #rx8000 #rdna4
'IT 소식' 카테고리의 다른 글
다가오는 AMD RADV "Radeon Vulkan" 드라이버는 레이 트레이싱 성능을 최대 3배 향상시킵니다. (0) 2023.08.16 AMD Zen 1 취약점이 제대로 수정되지 않음, 두 번째 패스 발행됨 (0) 2023.08.15 AMD, Radeon RX 7000M 모빌리티 라인업에서 하이엔드 RDNA 3 "Navi 31" GPU 제공 예정 (0) 2023.08.15 AMD, Linux 6.6에서 FreeSync 패널 재생, 차세대 RDNA 4 GPU 지원 시작 (0) 2023.08.15 AMD Ryzen 7 5800X3D가 Amazon에서 $269 최저가 (0) 2023.08.12

